НАСУС-300-1

3 420 тг.
 
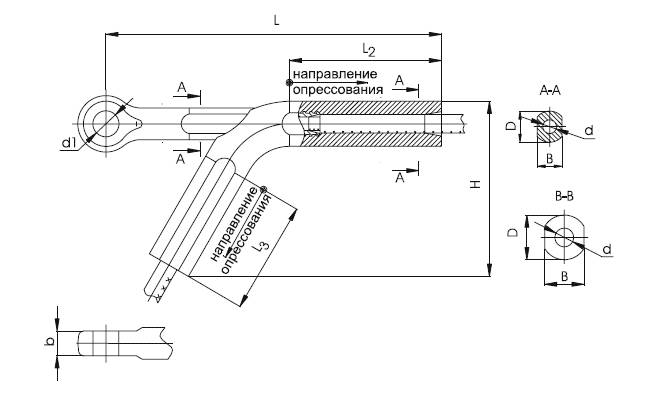
НАСУС-300-1

Зажимы натяжные прессуемые типа НАСУС используется для монтажа сталеалюминевых проводов повышенной прочности, которые применяются при сооружении специальных переходов воздушных линий через реки и другие препятствия.

Алматы, Екатеринбург-г.Дегтярск.ул Комарова 17

Авторизация

Похожие объявления

  • БУ ГПД 2G Agenitor 406 Liebher 250 КВтч., когенерация. Предложение на продажу: 2G Agenitor 406 250 KW Тип установки: Блоки высокой когенерации, работающие на природном газе.
  • БУ ГПД MTU 1,0 MВт, когенерация 2019 г.в. Двигатель Производитель MTU Германия Тип двигателя 8V4000 L64 Мощность кВт 1000 RPM 1500 Топливо Природный Газ - Метан Генератор Вольтаж 400 V
  • Коммерческое предложение по участию в инвестиционном проекте с грантом от Евросоюза.   Биодизельное производство, Свободная экономическая зона, Румыния.
  • БУ газотурбинная станция Kawasaki GPB 15 D, 1472 Квт, 400 В. 2006 г. в. Топливо природный газ метан. Наработка 28 000 мото часов Использовался в качестве резервного генератора.
  • Пиролизная Энергетическая установка SMART-NRG 400 КВт. Основное топливо древесная щепа. Влажность не больше 20. Технические параметры: Мощность электрическая 400 кВт.