Производитель полного цикла высоковольтного электрооборудования

1 621 тг.
 
Производитель полного цикла высоковольтного электрооборудования

Ангренский арматурный изоляторный завод (АИЗ)
Расположение: г. Ангрен, Ташкентская область, Республика Узбекистан

О заводе
Единственный в странах СНГ производитель полного цикла высоковольтного электрооборудования. Входит в число крупнейших производителей электротехнической продукции на территории СНГ.

Основная продукция
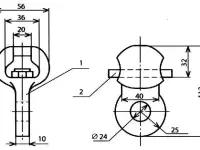
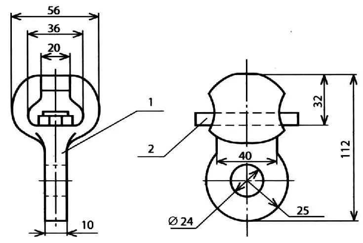
- Изоляторы высоковольтные (35-500 кВ)
- Линейная арматура для ЛЭП
- Подвесная арматура
- Натяжная арматура
- Соединительная арматура
- Защитная арматура
- Поддерживающие зажимы
- Контактные зажимы
- Сцепная арматура

Преимущества
- Конкурентоспособные цены на рынке СНГ
- Постоянное наличие готовой продукции на складе
- Полный производственный цикл
- Строгий контроль качества
- Сертификация по международным стандартам

Складская программа
- Поддерживаем постоянный складской запас всех типов продукции
- Возможность срочной отгрузки
- Гибкая система скидок для оптовых покупателей

Контакты для заказа
[Санджар + 998 99 039 85 48] ,телеграмм @Sanjar2w +7 952 270 68 80 , ватсап +7 965 798 95 44

*Цены и наличие товара уточняйте у менеджеров. Действуют специальные условия для крупных заказов.*

Алматы, Республика Узбекистан , Ташкентская область , город Ангрен

Авторизация

Похожие объявления

  • БУ ГПД 2G Agenitor 406 Liebher 250 КВтч., когенерация. Предложение на продажу: 2G Agenitor 406 250 KW Тип установки: Блоки высокой когенерации, работающие на природном газе.
  • БУ ГПД MTU 1,0 MВт, когенерация 2019 г.в. Двигатель Производитель MTU Германия Тип двигателя 8V4000 L64 Мощность кВт 1000 RPM 1500 Топливо Природный Газ - Метан Генератор Вольтаж 400 V
  • Коммерческое предложение по участию в инвестиционном проекте с грантом от Евросоюза.   Биодизельное производство, Свободная экономическая зона, Румыния.
  • БУ газотурбинная станция Kawasaki GPB 15 D, 1472 Квт, 400 В. 2006 г. в. Топливо природный газ метан. Наработка 28 000 мото часов Использовался в качестве резервного генератора.
  • Пиролизная Энергетическая установка SMART-NRG 400 КВт. Основное топливо древесная щепа. Влажность не больше 20. Технические параметры: Мощность электрическая 400 кВт.